Mobzilla.it da oltre un mese ha bloccato le vendite e da allora nessuna comunicazione ufficiale. Cosa ...
Avete qualcosa da vendere e non sapete come fare? Ecco i migliori siti e portali dove ...
Tool ufficiale Apple che permette di trasferire le foto memorizzate su iCloud direttamente su Google Foto ...
Finalmente WhatsApp Desktop supporta le videochiamate. Potete farlo da qualsiasi computer Windows e MAC facilmente Diventa ...
Redmi Note 10 series svelata. Prezzi aggressivi e hardware da medio gamma con fotocamere davvero prestanti ...
Se state cercando un addons per Kodi dove vedere lo sport Americano in streaming gratis, dovete ...
E’ possibile scoprire il numero di telefono di un contatto di Telegram? Ecco tutti i modi ...
Signal, alternativa a WhatsApp e Telegram, è possibile usarlo anche su Windows 10 oltre che su ...
Come fare le dirette Instagram con quattro persone grazie alla nuova Live Rooms. Ecco come usarla ...
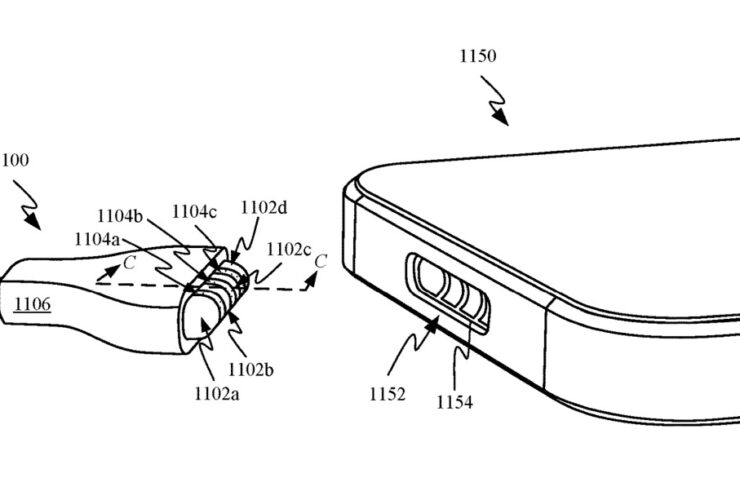
Il MagSafe potrebbe sentenziare la morte dei vari connettori su tutti i prossimi prodotti di Apple, ...







































